온주 Joepai 밸브 유한 회사
온주 Joepai 밸브 유한 회사
소식

소식

JIS/KS 10K ~ 20K가있는 한국 시장 독점 스테인레스 스틸 2PC 유니온 볼 밸브

Joepai Valve는 고성능을 시작합니다2 피스 유니언 볼 밸브한국의 산업 시장에 대한 엄격한 JIS 10K/20K & KS 표준을 충족하도록 설계된 시리즈. 투자 캐스트 바디와 제로 누설 보증을 특징으로하는이 밸브는 석유 화학, 조선 및 식품 가공 응용 분야에 대한 타협없는 신뢰성을 제공합니다.


엔지니어링 우수성 : 핵심 기능

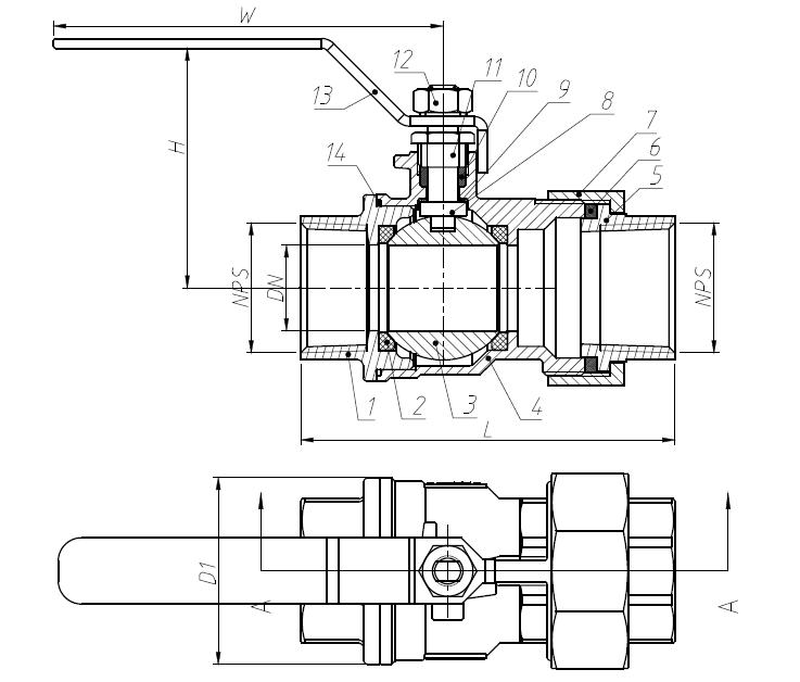
1. 강력한 구조 : 높은 차원 정확도와 구조적 무결성을 갖는 정밀 캐스트 바디 (CF8/CF8M). 물, 석유 및 가스 (W.O.G.), 작동 압력 : 800psi (10k) / 1,000 psi (20k)에 적합합니다. 밸브는 JIS B 2003에 따라 1,500psi에서 정수압으로 테스트됩니다.

2. 뛰어난 밀봉 및 안전 :이 측면은 100% 누출 테스트, 100psi 공기 수중 검증 및 ISO 5208 클래스 A 표준으로 테스트 및 보장됩니다. 순수한 PTFE® 씰 및 밸브 시트는 FDA/EC1935 표준에 따라 도망자 방출을 달성 할 수 있습니다. 밸브 스템의 경우, 고압을 견딜 수있는 SS304/SS316으로 만들어진 폭발을 방지하기 위해 향상된 설계가 만들어집니다.

3. 강력한 적응성 : 조절 가능한 줄기 포장, PTFE 포장 상자는 분해없이 현장에서 조일 수 있습니다. 온도 범위는 -60 ° F ~ 450 ° F (즉, -51 ° C ~ 232 ° C)이며 저온에서 증기 응용에 적합합니다. Solid Ball Valve 옵션을 사용할 수 있으며 연마/슬러리 매체 (SS316/SS304)에 따라 사용자 정의 할 수 있습니다.

4. 작동 장점 : 레버 작동, 90 ° 빠른 닫기, 위치 표시기. 옵션 잠금 장치는 안전한 공정에 적합한 밸브 상태의 안전성을 확인하기위한 선택적 잠금 장치. 밸브는 유지 보수를 위해 파이프 라인을 분해하지 않고 공동으로 설계되었습니다.


한국 구매자를위한 경쟁 우위

✅ 비용 효율성

재료 품질이 동일한 일본/한국 브랜드보다 30% 저렴한 가격 (SCS13 = SS304, SCS14 = SS316).

✅ 빠른 물류

배송 시간 : 예금을받은 후 15 ~ 30 일.


주요 기술 사양

특징 사양 한국 시장 이점
신체 재료 SCS13 (JIS G4303) / SCS14 (AISI 316) 화학 공장 준수
압력 등급 KS 10K (PN20) • KS 20K (PN50) 현대/KCC 인프라에 적합합니다
연결 끝 JIS B0203 스레드 (BSPT) 로컬 시스템에 대한 직접 교체
시트 재료 강화 PTFE (JIS T6812) -40 ° C ~ 200 ° C 사계절 범위
작업 잠금 레버 (KS C IEC 60947) 안전 준수


Specifications


치수 (Jis B 2002)

NPS DN (MM) L (MM) 흠) W (MM) D1 (MM)
1 " 22 96 60 100 48
11/4 " 24 104 62 100 51
11/2 " 32 115 80 160 62
2 " 40 130 85 160 75


우리의 2PC Union 밸브는 LNG 터미널에서 화학 투여 시스템에 이르기까지 한국의 고압 밀봉 문제를 해결합니다. 1,500psi 정수압 테스트는 KS B 1510 요구 사항을 초과하여 평생 무결성을 보장합니다.


지금 행동하세요!

• 그리기 모델을 다운로드하십시오: www.joepaivalve.com

• 무료 샘플을 요청하십시오: +86-19957707725 | sales@joepaivalve.com


관련 뉴스
나에게 메시지를 남겨주세요
X
We use cookies to offer you a better browsing experience, analyze site traffic and personalize content. By using this site, you agree to our use of cookies. Privacy Policy
Reject Accept